10 月 21 日消息,沉寂了好一阵子的罗马仕,最近又上了新闻:超2500万股权被法院冻结,累计召回的充电宝都到16.7万件了。作为曾经的“性价比王者”,怎么就走到这一步了?
前几天国家企业信用信息公示系统显示,江门罗马仕科技有限公司两笔股权被冻,一笔 210 万,另一笔直接 2313 万多,加起来超 2500 万。更要命的是,母公司深圳罗马仕持有的江门子公司 175 万股权也被冻了。

图源:微博
可能有人说“股权冻结不是倒闭”,但对一家消费电子公司来说,这基本是资金链绷紧的明确信号,说白了就是外面有债务纠纷,人家申请法院冻了资产。
而股权冻结只是“雪上加霜”。众所周知,真正的导火索是上半年的安全风波。
今年6月,北京好几所高校直接发通知禁用罗马仕充电宝,理由也是特别吓人:充电时可能燃烧、爆炸。这消息一出来直接冲上热搜,我身边好几个用罗马仕的朋友都赶紧翻自己的充电宝型号。
罗马仕当时道歉挺快,两天后就宣布召回 49 万多台充电宝,涉及三款型号。到 9 月底,累计召回了 16.7 万件,退了 2283 万多元。

图源:微博
但更尴尬的是,一开始网店保证金都不够,消费者得排队等退款,最后还是市场监管总局出面协调才解决。说真的,这波操作让不少老用户寒了心,大家当初选择买它,不就是图个大牌子省心吗嘛。
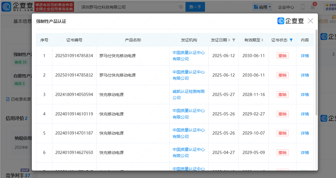
更致命的是,9 月中旬它多个快充产品的 3C 认证还被撤销了。这可不是小事,做充电设备没有 3C 认证,等于失去了合法生产的资格。公告里写的原因也挺刺眼的:证书暂停后不整改,也不申请恢复,等于自己放弃了合规身份。

图源:微博
看到这儿可能有人问,曾经的“充电宝一哥”怎么突然不行了?要知道罗马仕当年多风光,连续 11 年天猫双 11 销冠,2 万毫安的充电宝卖不到一百块,“价格屠夫”的名号就是这么来的,年出货量能到 5000 万件。
小雷第一台充电宝就是买的罗马仕,当时觉得性价比绝了,没想到如今跌得这么惨。
在我看来,根源还是“性价比”背后的隐患。为了压低成本,可能在供应链上放松了把控。这次召回原因就明说了,是部分电芯原材料有问题,极端场景下会有风险。
更糟的是,上游供应商也掉了链子,给它供电芯的安普瑞斯之前还被罚款,资金链也紧。一环扣一环,最后全崩了。

图源:小红书
现在罗马仕的日子是真的难了。7 月就发了停工停产通知,要停半年,除了处理召回的员工,其他人都放假,工资只发了 6 月的,不少员工还在维权讨薪。天猫淘宝旗舰店都关了,京东店里只剩充电线这些小配件,充电宝全没了踪影。
小雷认为,性价比再香,也不能丢了安全和合规的底线。咱们消费者买东西图便宜,但更怕的是“便宜没好货”出安全问题。曾经靠低价圈粉的品牌,要是把安全当儿戏,早晚要被市场抛弃。
最后也提醒下大家,家里还有罗马仕充电宝的,赶紧查查是不是召回型号( 2023 年 6 月到 2024 年 7 月产的 PAC20 - 272 等三款),有问题赶紧申请退款,希望罗马仕能真的整改把后续的售后回收问题好好处理妥当。
你们用过罗马仕吗?评论区聊聊你的看法~

雷科技





































