小米汽车又有新料曝光!
电车通从企查查官网得知,小米汽车申请的「固态电池复合电极与制备方法及包含其复合电极的固态电池」专利正式公布。

截图:企查查官网
一家新能源车企研发固态电池并不是什么新鲜事,只是这事放在小米汽车身上就不一样了:小米汽车有小米 SU7,但目前在汽车行业还不算站稳脚跟,需要更多可以盈利的项目,不算成熟的固态电池项目必然会增加小米的投入负担。
更何况,专利只是专利,将其应用在产品上还有不少时日,未来还要花钱的地方可不少。
既然小米决定了要做固态电池,至少在小米汽车看来,固态电池肯定是新能源汽车行业的未来主要趋势之一,雷军也说过,「未来的汽车市场将只剩下五家车企,年销量 1000 万辆是存活下来的门票」,车企只有提前入局潜力更大的技术领域才有机会拿到决赛圈名额。
从小米汽车公布的固态电池技术专利来看,雷军造车的决心不可低估。

图源:小米汽车官方
太离谱了!纯电续航超1200km ?
目前新能源市场主要采用磷酸铁锂电池和三元锂电池,这两种电池本质上都是液态锂电池。理论上来说,相比液态电池,固态电池的电解质更加稳定,最终在车辆会体现出更扎实的续航能力,并且还能适配更高功率的快充技术,可谓是磷酸铁锂电池、三元锂电池的「最优继任者」。
而在小米汽车的固态电池技术专利中,其实就讲了两个技术亮点:
其一,通过优化结构之后,小米的固态电池缩短了金属离子在厚电极中的传输路径,从而提高金属离子在电极之间的传输速率。
说白了,就是用减少「总路程」的方法来提高速度。
其二,小米固态电池所采用的复合电极具备较高的电极载量和倍率性能。
根据公开的专利数据,复合电极厚度为 2cm 时,正极载量可以达到 480-500mg/cm2,全电池面积容量可达到 60-70mAh/cm2,而且在 2C、正极载量为 500mg/cm2 的条件下,全电池的容量保持率为 75%。
这是经过与其他正极活性物质、材料间隙、基质与固态电解质的比例对比之后的结果——复合电极固态电池的能力够全面。

图源:小米汽车公开专利
至于整块电池带来多大的电极载量、倍率性能,以及能为整车带来多强的性能输出、续航能力、充电速度,在这份公开专利中其实都没有找到。
不过电车通注意到一个细节:这份专利的申请日是 2023 年 12 月 12 日。
就在 2023 年 12 月底,小米汽车公开了 CTB 电池包的技术参数——在成熟体系下车辆最高可以搭载容量为 132kWh 的电池组,CLTC 纯电续航可实现超 1000km,平台上限更是能超过 1200km。
换而言之,搭载固态电池的小米汽车,大概率会实现超 1000km 的纯电续航里程,甚至有可能打破 1200km 的续航天花板。

图源:小米汽车官方
根据目前曝光的信息,小米汽车的第三款车型将搭载增程混动技术,向当下最热闹的高端家用 SUV 市场发力,但未雨绸缪是一家车企逐步趋于成熟的标志,不仅要抓住现在的销量基本盘,还要舍得投入,为以后的销量基本盘做准备。
这也就是所谓的「生产一代、储备一代、研发一代」,有远光的车企还会做到「保密一代」。
需要指出的是,固态电池的导电性、制造工艺和装备、生产成本、稳定性等技术难点仍待解决,友商为了解决这些难点花费了数年时间,比如丰田对全固态电池的研发可以追溯到 2008 年;比亚迪在 2016 年就投入固态锂电池的研究工作。
至少在纯电动车领域,小米汽车还有很长的一步路要走。
固态电池2027量产!小米能赶上吗?
电车通了解到,多家车企宣布固态电池量产上车的时间节点。
先看电池企业,宁德时代已经开发出能量密度高达 500Wh/kg 的凝聚态电池,其电解质介于半固态电池和全固态电池之间,官方预计会在 2027 年实现小批量生产;比亚迪锂电池有限公司 CTO 孙华军透露,比亚迪去年就已经下线了 60Ah 全固态电池,会在 2027 年左右启动全固态电池批量示范装车应用,预计在 2030 年后实现大规模量产上车。

图源:宁德时代
再看传统汽车品牌,去年 4 月份,广汽集团宣布启动全固态电池的研发,电池能量密度高达 400Wh/kg,在 2026 年将其率先搭载在昊铂车型上;长安汽车预计在 2030 年推出包括液态、半固态和固态在内的八款自研电芯;奇瑞汽车计划在 2026 年将固态电池投入定向运营,2027 年实现批量上市,届时纯电动车的纯电续航里程有望突破 1500km。
同样,丰田、日产、奔驰等全球知名的汽车制造商在新能源领域的反应看似比较迟钝,但实际上已经来到全固态电池的试制阶段,其中实力最强劲的丰田,目前至少拥有 1300 项全固态电池的技术专利,在去年的广汽丰田科技开放日上就已经宣布「以 2027-2028 年推出为目标全力推进研发」。
多个企业的动态呈现出一个事实:固态电池的技术之战最快会在 2027 年开启,而且上述提到的车企,都会是小米汽车的竞争对手。
但有几个蛛丝马迹证明,小米汽车虽是后来者,但不代表没有话语权。
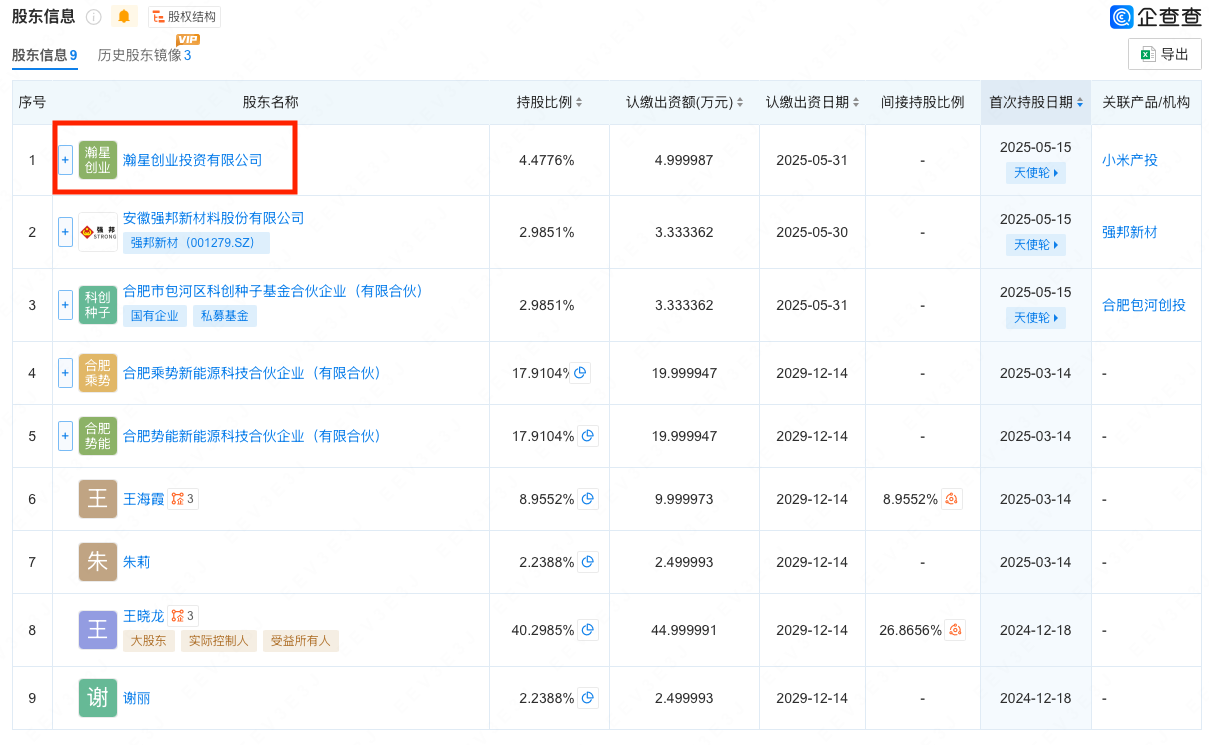
正如雷军所说,小米汽车有钱,有能力为固态电池的研发投入更多。电车通在企查查官网查询到,合肥因势新材料科技有限公司在 5 月新增了一家名为瀚星投创的小米集团的全资子公司。

截图:企查查官网
这家公司成立至今也不过半年左右,小米之所以愿意花钱投资,根本原因就是其拥有名为「一种基于氧掺杂的硫化物固体电解质及其制备方法」的固态电池技术专利。
不仅如此,赣锋锂电、中创新航、蜂巢能源、卫蓝新能源、珠海冠宇等电池企业,多多少少得到小米的投资,其中赣锋锂电、卫蓝新能源等企业更是将固态电池放在极为重要的战略地位。
更重要的是,小米汽车对纯电续航能力的重视程度,完全可以说处于第一梯队。
指导价为 21.59 万元的小米 SU7 标准版,拥有 700km 的 CLTC 纯电续航里程,这个性价比已经非常高了,而且经过数个知名汽车服务平台的实测,续航达成率均处于前列位置。
而刚发布不久的小米 YU7,标准版就搭载 96.3kWh 的电池组,拥有 835km 的 CLTC 纯电续航里程,位列中大型纯电动 SUV 市场的第一位,反观搭载 100kWh 电池组的保时捷 Macan Electric 后驱版和搭载 111.8kWh 电池组的奔驰 EQS SUV 后驱版,CLTC 纯电续航里程都不超过 750km。

截图:小米汽车直播
雷军深知纯电动车主对续航扎实度的关注度,都会设法将续航能力达到市场拔尖的水准。如果小米汽车继续用这样的心态去做固态电池,在产品推出市场之前其实就已经赢了。
全固态电池,不是纯电车的唯一解法?
电车通此前预测过,未来纯电动车所搭载的电池主要是三种:
续航、性能、充电、安全等方面均无短板的全固态电池,主要应用在高端纯电动车上;
锂电池将覆盖于绝大部分车型中;
入门级产品可能会引入成本更低的钠离子电池,而电池企业巨头宁德时代已经发布了钠离子电池品牌「钠新电池」,相信其他电池企业很快会跟上。
其中,锂电池和钠电池由于技术成熟、成本较低,装载率会比较高,真正拉开车企之间差距的肯定是固态电池。
只不过,实力足够拔尖且全面的全固态电池开始普及之后,受到冲击最大的应该是以补能速度为荣的换电技术。毕竟,换电模式依然存在电池兼容性造成的困扰,每款产品的迭代会受到换电技术和电池的限制。

图源:蔚来汽车
但话说回来,全固态电池肯定是未来,但并不代表没有研发固态电池的车企就没有未来。
消费者对纯电动车的硬实力需求已经相对固定,其实只要做好安全、续航、性能、充电速度这四个方面就足以吸引消费者买单。
就目前的技术而言,液态锂电池与全固态电池的差距主要在续航、充电速度这两个方面,而这两点完全可以通过完善充电体系和加强电池充电倍率等方式来解决,研发全固态电池不是车企唯一的道路。
因此,电车通猜测全固态电池的普及很有可能会促进闪充技术的升级,两个技术将会在车市中协同发展。
(封面图源:小米汽车官方)

雷科技





































