《汽车神专利》是电车通团队推出的技术科普与价值挖掘栏目,旨在解读车企申请的最新专利的意义,以及该专利未来的可行性。欢迎广大读者各抒己见,共同探讨汽车最新黑科技的利与弊,以及汽车技术的发展方向。
当网友之间争论纯电动车和燃油车谁更好时,支持燃油车的一方总会引入「续航」这一话题,让支持纯电动车的一方「难以反驳」。
实际上,纯电动车的续航数据并不比燃油车差,一箱油只能跑400km的燃油车一抓一大把,而CLTC纯电续航超过500km的纯电动车已经有不少。
只不过,纯电动车的真实续航会受到环境影响而降低。进入冬季之后,纯电动车的实际续航里程一般比官方宣传水平低三成,有的甚至五成。

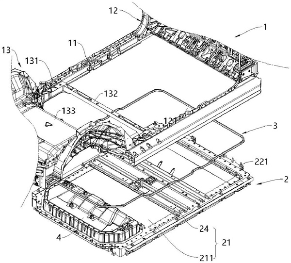
面对续航衰退的问题,小米出手了。近日,小米汽车申请了电池及车身一体化结构的新专利。摘要显示,该专利可以提高车辆的集成化程度,通过降低车身结构的自重来提高车辆的续航里程。

或许你已经听过比亚迪在2021年发布的CTB、零跑在2022年发布的CTC,那么小米这一新专利,与比亚迪和零跑的技术有什么区别呢?
小米汽车不做换电
摘要显示,小米汽车申请的新电池及车身一体化结构,车身包括两个门槛梁,每个门槛梁上均设置有电池包安装部。
也就是说,电池包壳体的顶部就在横梁上。这样一来,横梁可以加强电池包壳体的刚度和侧碰传力性能,提高电池的安全性,而且电池包壳体顶部还是作为地板面板而存在,车身结构重量也有所降低,从而提高整车的纯电续航里程。
按照新能源车企一开始的思路,提高电池能量、放电效率、电池结构等方式来提高整车续航。只不过,一辆车的底盘空间有限,现阶段又没有更高端的原材料来用作电池能源。当这几个方式已经被「挤牙膏」挤到不成样子之后,车企只能打破堆电池的想法,因此诞生出CTB、CTC、CIB等技术。

比亚迪的CTB,将单体电池直接集成到车辆的车身框架中,让电池可以参与到整车的传力和受力;零跑的CTC,将电池电芯直接集成到车身底盘上,这样可以降低零部件的数量,从而可以塞进更多电池;小鹏的CIB将电芯直接组装在车身底盘上方。
这么来看,小米的电池及车身一体化结构专利与零跑CTC相似,都是通过与底盘结构件相连接,降低零部件的数量来降低车重,最终起到提高整车续航的作用。

当电池镶嵌在底盘之中,这会给电池拆卸带来困难,这也意味着小米汽车不再选择换电这条路线,至少在现阶段来看是这样。
确实,换电的优势就是快,而且车主不担心电池衰退问题,但想要推动换电模式,大规模建设换电站必不可少,这需要投入非常大的成本。你看,隔壁死磕换电模式的蔚来,也需要其他车企、第三方换电企业的协助,曾经想要发展换电模式的特斯拉,最后也选择了超充阵营。
即便是家底足够雄厚的小米汽车,也不敢做换电模式。
小米SU7,真实续航够不够强?
半个月之前,小米首款汽车小米SU7的申报信息公布,我们也就得知小米SU7定位为中大型轿车,与岚图追光的整车尺寸水平相近,单电机版本的最大功率为220kW,双电机版本则在单电机的基础上,加入了275kW的前驱动电机,这一点也要比岚图追光更强。

但针对消费者比较关注的续航方面,工信部暂未公布,但小通结合此前曝光的信息可以拼出一个「真相」。
结合网传消息,小米SU7将会提供400V和于800V高压平台的版本,其中400V平台版本的续航更低,主要目的是为了拉低购车门槛,而800V高压平台的版本可以确保整车的超充能力,而且小米汽车还研发出让机械手臂自行帮汽车充电的功能。

另外,小米SU7电池包容量为101kW·h,纵观国内纯电动车市场,电池包容量超过100kW·h的车型并不多,这也让小米SU7天生自带长续航里程优势。结合小米SU7被曝出在几乎满载的情况下,依然能实现8.8kW·h的能耗。

换算下来,小米首款汽车的最高续航里程可以达到800-1000km之内,如果在市区内驾驶,综合续航里程超过700km完全没有问题。能够实现如此高的续航能力,想必小米申请新专利在当中起到不少作用。
毫无疑问,自行充电、超充和长续航都会成为小米SU7的主要卖点。作为新势力阵营的一员,小米汽车并没有「另辟蹊径」,提供对手没有的亮点来吸引消费者,而是针对消费者关注的用车痛点,与老牌竞争对手一决高下。
但话说回来,小米毕竟还是科技企业,小通继续搜查小米汽车申请过的专利发现,小米汽车的部分专利还是比较超前的。
据国家知识产权局信息,小米汽车申请了「充电车及充电方法」的新专利,当中涉及到电池车、无线充电装置、自动驾驶系统等方面。

这项专利的细节是,小米汽车设计出配备大电池仓的充电汽车,这款车配备了自动驾驶系统、无线充电装置、通信装置、环视摄像头。当小米汽车没电的时候会向充电汽车发送充电请求,而这款充电汽车会根据小米汽车的位置,最终自动驾驶到车辆旁边为车辆进行无线充电。
是不是有一种熟悉的感觉?
小米汽车这一新专利让小通想到了蔚来的「柴油充电宝」,但相比仍需要人力的蔚来「柴油充电宝」,小米汽车专利中的充电车更加智能化,只是采用了当下车市还未成熟的自动驾驶技术和无线充电技术。

按照国内车市的发展趋势来看,小米这一全新专利应该没那么快实现,毕竟光是发展数年的自动驾驶技术还没完全落地,再考虑上无线充电技术研发所需要的时间,这一专利落地的时间可能会比你想象的时间还要久一些。

市场份额就这么大,消费者在买车时也比较看重品牌,小米汽车虽说有雷军的影响力加持,但要想从老牌对手中抢占市场,依然很难。再者,小米汽车第一款产品就定位中高端,而同定位的智界S7已经上市,能够抢占的市场份额就更少了。
不过,按照小米一贯的「理工男」性格,小米汽车必然还会死磕下去。未来,小米或许会走亲民路线,或者加入到蔚来的换电阵营也并非没有可能。

雷科技





































