如果你经常一个人开车,与你交流最频繁的可能就是眼前的仪表盘。
现在的仪表盘,开始取消以往的机械指针式设计,开始用数字的形式将车辆信息来传递的驾驶者。虽然少了以往的“汽油味”,但整体显示逻辑也更加合理,而且还有余地显示娱乐信息。
翻看仪表盘的设计历史,升级理念基本都是信息趋于丰富,获取方式更加便利,但人机交互设计的主动权还是在车企手中,即便直接取消仪表盘的激进派特斯拉也是如此。

(图源:特斯拉官方)
但这一次,以沉稳闻名的大众汽车选择当一次激进派,直接让用户参与到仪表盘的设计当中。
用户的手机和平板就是仪表盘
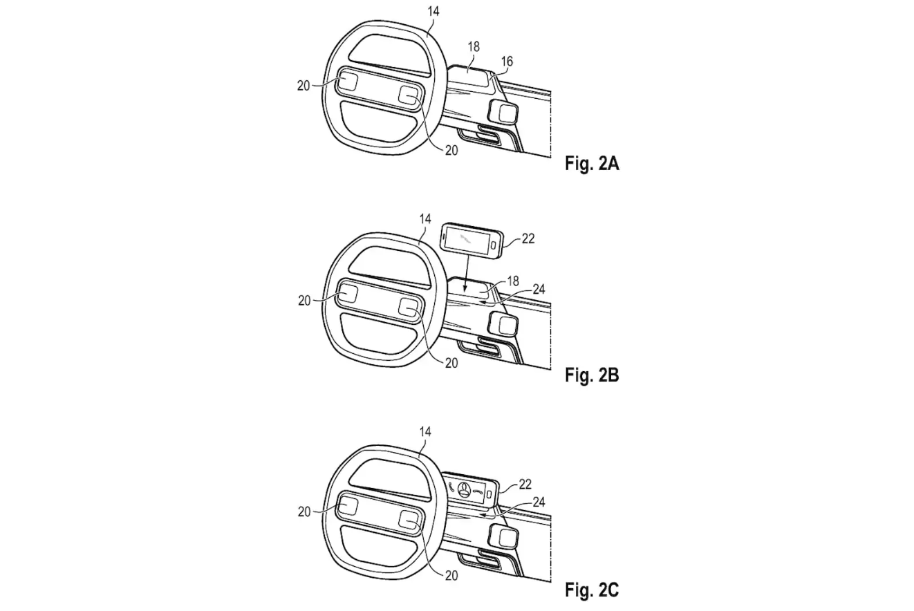
近日,大众汽车向德国专利和商标局提交了一份专利,表示在原有的仪表盘位置,可支持放置一个尺寸更大的装备,比如智能手机,甚至是平板电脑,让你的移动设备直接变成可拆卸“显示屏”。

(图源:德国专利和商标局)
大众表示,可拆卸显示屏只要用来处理导航、媒体控制等信息,用户只需要下载指定APP,通过蓝牙、网络等方式与车辆实现交互。可能是为了避免信息传递之间存在时间差,像车速、能耗、故障灯等基本驾驶信息,会在另一块不可移动的基础屏上显示。
在小通(ID:dianchetong233)看来,用手机当作仪表盘带来最直观的好处就是,软件体验可以一直紧跟时代需求,诸如显示方式的主题化、手机上自带的高刷新率和高显示质感都可以轻松实现,这些都是当下车机仪表盘难以做到的一点。
不可否认,利用软件可持续升级迭代的优势确实可以保证用户的观感,但大众汽车可能忽略了一点,用移动设备来当作仪表盘会存在一定的安全隐患。
多花钱事小,增加安全隐患事大
从大众汽车的专利图来看,可拆卸仪表盘还是设置在“老位置”,上手难度并不高。不过,厂商将移动设备的尺寸越做越大,暂且不说平面电脑和折叠屏手机,直屏手机的屏幕尺寸都已经直逼7英寸,专利图上的方向盘的镂空面积仍然不够大。

(图源:德国专利和商标局)
为了让车主更清楚地看到移动设备上的信息,大众汽车可能需要采用上方镂空面积更大的方向盘,甚至可能直接采用半幅式方向盘,这将会带来额外的成本。
另外,如果手机或者平板只是起到传统仪表盘的作用,那么“可拆卸仪表盘”就只剩下“可拆卸”这一无关紧要的特点,如果车机系统本身需要用到移动设备的生态,那还需要考虑车机的兼容性问题。
正所谓“牵一发而动全身”,设计是一门复杂的学问,仅仅做一处修改并不难,但往往需要花更多精力来修正其他bug。
对于大众来说,设计上的事可能都是小事,但如何固定移动设备可是一件非常严肃的事,总不能因为一个刹车或转弯就让手机掉地上吧。
小通暂未在专利文件上找到关于移动设备位置的固定方式,专利图上只显示一个简单的底座支撑,并没有提供太多信息。如果按照当下固定设备的套路,小通猜测大众可能会采用以下三种方法。

(图源:pixabay)
首先,要想固定不同尺寸的手机以及平板,机械支架的兼容性会相对更高。
这就有点像用户自行购买支架放手机用来看导航信息的感觉。但老司机们都知道,支架会有物理限位,看起来也不美观,而且时间长了接口处还可能会松动,显然这并不是一个很好的解决方式。
第二种就是像大疆云台相机一样提供充电接口,手机需要用的时候直接插上就行,但这样无法兼顾到不同尺寸的移动设备。
搜索某宝许久,小通还找到另一种固定方式——磁吸贴片。这种固定方式非常容易上手,官方可以提供磁性更高的磁贴配件,就可以避免手机被甩掉的问题。

(图源:淘宝截图)
或许,大众汽车可能还找到另外一种兼顾美观性和可靠性的移动设备固定方式。但小通需要指出的是,不要让移动设备成为第二个高田气囊。
当年的高田气囊就是因为在气囊触发爆炸时,过大的冲击力将充气机等装置的金属/塑料碎片射向驾驶员,最终造成全球范围内多人重伤甚至死亡。
目前,车载显示屏有一系列安全标准,确保通过玻璃防破碎/防飞溅、高低温、湿度、耐刮擦、防眩光等测试。移动设备在设计之初并不会考虑用车场景,其抵抗强冲击的能力远低于车机,遇到极端情况时很有可能会对车内人员造成二次伤害。
一个可拆卸仪表盘,暴露了大众的焦虑
如果要让小通评价这个专利,总体来说弊大于利。当然,这毕竟只是一个专利而已,大众或许不会选择量产。
但也正因为这样一个小小的专利,暴露大众汽车亟需解决的问题——软件。
可拆卸仪表盘最直观的好处,也可能是唯一的好处就是确保软件体验,而当下的大众汽车,在软件表现上存在着不少现实问题。

(图源:大众汽车官方)
CARIAD作为大众汽车集团旗下负责软件业务的子公司,本应为集团提供最根本的底层支持,但事实上并没有达到集团的期望,甚至还对旗下子品牌的新车交付造成了严重影响。
大众ID.系列纯电动车曾因为软件bug导致交付延期和召回,而且新车在国内上市后因为软件问题被投诉的次数并不少;奥迪、保时捷旗下全新电动车的推出计划被延迟到明年,奥迪新旗舰车型的推出时间改至2027年,比原计划晚了足足三年。
数据显示,CARIAD的软件预算从一开始的70多亿欧元提升至270亿欧元,但根据大众发布的2022年业绩报告,CARIAD营收7.96亿欧元,而经营亏损却高达 20.68 亿欧元,占据了整个集团在2022年利润的10%左右。
亏得多,而且还没有啥成就,只能不断更替CARIAD的负责人,原来CARIAD的四人董事会仅剩下留下一人,如今由宾利董事会成员Peter Bosch出任CARIAD首席执行官,但能否帮助CARIAD顺利走上正轨,目前暂未得知。
不过可以确信的是,越来越多车企开始愿意与科技企业合作,在软件体验上带来更多新的惊喜。大众现在才亡羊补牢,可能需要一段时间才能追赶上,但小通认为大众大可不用太着急,软件还没有成为判断胜负的唯一要素。以集团目前的技术积累和市场口碑,完全可以为集团持续输血一段时间。

雷科技





































