经常来看小雷的小伙伴们都知道,我平时兴趣爱好就那几样,打英雄联盟,网上冲浪和刷B站。
至于我在B站会看哪一类视频,其实之前也有和大伙透露过嗷。
不是婀娜多姿的舞蹈区,也不是制服诱惑拉满的钢琴区,相比起来,小雷更追求真实。
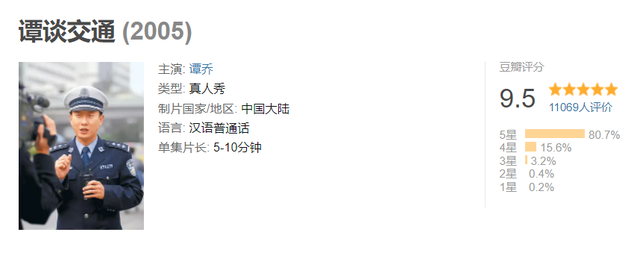
像是记录医院生活的《人间世》,还有造梗无数又不失温情的《谭谈交通》,都是我的心头爱。
属于是每天晚上睡前必刷,不看失眠一整晚。

但很不巧的是,小雷昨晚就失眠了,整晚泪汪汪,对着天花板苦苦叹息。
原因很简单,我天天都得刷一遍的《谭谈交通》被下架了...
以一己之力把谭警官耍得头疼的二仙桥大爷,还有感动千万网友的“福贵”大爷等视频,全都消失在B站【谭乔】的投稿列表。
诶?我说停停,这是发生什么大事儿了?

图源:北京时间
如果从内容性质上来说,《谭谈交通》还是一款公益性的交通普法节目呢...
这节目在2005年首播时,谭乔就作为交警兼出镜主持人,给街上那些违反交通规则驾驶的人进行教育科普。
节目中时常会出现各种意外状况,现在看来,满满的都是节目效果。
像沟通奇才二仙桥大爷,还有乐观选手气球哥,几乎是承包了B站大批用户的笑点。

但,这还不足以让《谭谈交通》出圈。
在这个节目的笑点背后,其实都是处于社会底层的普通人努力生存的模样。
而在大多数情况下,谭乔也没有主动发出罚单,反而时常会自掏腰包帮助这些生活困难的人。
这个节目没有剧本,快乐和泪点并存,很多人从中看到了真正的“人世间”。
那么问题来了,一个怎么看都是在传播正能量的节目,怎么就被噶了?
上网翻了一下,原来是这节目遇到了版权问题...

是的,这事儿连谭Sir本人都很诧异,他本来在外面拍安全宣传视频,却听到自己上镜拍摄的节目被全面下架。
这还没完,他表示自己还有可能面临数千万巨额赔偿。
回想这十几年来,谭Sir本人从未通过节目拿到啥收益,期间还一直被大伙无偿观看和二创。
现在倒好啊,直接被不明来路的公司给背刺,还表示:“你这节目的版权是我们公司的,赔钱!”

而突然杀出来的,名字就叫做“成都游术文化传播有限公司”。
这里就有两个疑问了。
一是节目推出十几年来,为何现在才来搞谭Sir呢。
二是这个公司到底啥来历,居然能拥有《谭谈交通》的版权...

图源:谭乔
从谭Sir第一个视频回应中,咱们可以先得出第一个答案。
前几年《谭谈交通》还没火出圈,也是这两年来有B站各种剪辑,再加上谭Sir本人经常参与访谈节目,才让节目进一步爆火。
这时候呢,“游术” 看到了节目的商业价值,于是光速出手,向谭Sir索赔数千万元。

这种行为在商业上很常见,谭Sir在江湖混了几十年也早就看穿一切,但真正说出来时依然满脸无奈。
毕竟“我要证明我是我自己”这种事儿,听起来就很荒唐...

而接下来,就来到第二个问题。
所谓的“成都游术文化传播有限公司”,到底是怎么获得《谭谈交通》的版权?
谭Sir可是在视频中说的很清楚,作为唯一的原创作者,他从来没有签订过任何合同和协议。
但如果相关法律文件的支持,各大平台肯定不会贸然下架创作者作品。
就在网友纷纷挠破脑袋之时,一份授权书从网络上曝光。

这份授权书就很好地解答了最为关键的版权问题。
原来是成都广播电视台把《谭谈交通》的版权,授予了成都游术文化广播有限公司。
作为被授权方,游术有权以自己的名义去发函、投诉、采取刑事措施以及获得赔偿。
眼看《谭谈交通》热度飙涨,游术终于坐不住,从裤兜里掏出18米大镰刀,狠狠收割谭Sir。

有人可能会说,能从成都电视台手中拿到这节目的版权,这公司一定有着过硬的实力叭?
对,但也不对。
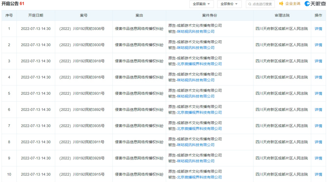
用天眼查和企查查去扒这公司,发现它是一件正事都不干,就顾着到处起诉公司。
像是华为、腾讯、爱奇艺、快手等叫得出名字的大厂,都被它起诉过。

而且它起诉起来还带刷屏的,短短一天就能搞十个开庭公告。

看到这里,估计大伙都懂了嗷。
游术文化传播公司其实就是大家平时口中常说的“版权流氓”。
公司本质上是个空壳,它存在的意义就是有一个正当的主体来起诉各种公司...
而极目新闻的记者也去过游术在国家企业信用信息公示系统上登记的住址,发现这里居然是一家服装店。
而老板本人也从未听说过游术公司的存在。

图源:极目新闻
你说这公司有实力吧,它只是个空壳,每年社保人数为0,以起诉各大公司赚取版权费维生。

图源:天眼查
但说它没有料,它又能拿到各种资源的版权,真的很难理解它背后的运作逻辑。
最后连谭Sir本人都蚌埠住了,在知乎回应的同时也发出灵魂三问。

事情聊到这里,来龙去脉基本清晰明了。
先是成都广播电视台把版权授予游术公司,游术看到谭乔主持的《谭谈交通》热度高涨,有极高的商业化价值。
于是连忙拿起镰刀,收割埋伏多年的种子。
网友们了解清楚后,也逐渐把舆论转向了背后的成都电视台。
看着事态发展不对劲,成都电视台便委托律师所发布了声明,表示游术展开的维权工作并没有针对谭Sir个人,更不存在对他“索赔千万”的情况。

道理咱都懂,但谭Sir作为《谭谈交通》的唯一主持人,与节目本身有相当紧密的关联。
游术真要告《谭谈交通》侵权啥的,最后大概率会搞到谭Sir头上。
那真就是兜兜转转告回你...
至于怎么起诉嘛,也许游术自己都还没想明白,因为谭乔由此至今都没有通过《谭谈交通》来捞钱。
拍摄完这节目后,它依然留在原单位那工作,拿着稳定的工资过生活。
而最容易引起争议的B站视频创作激励,他也全部捐给公益机构了。
现在的情况正如谭乔自己说的那样,他就像一份香味扑鼻的蛋糕,静静躺在桌上,总有人会拿着刀前来切开瓜分。

瓜分钱的事儿自然容易捋清,但本次事件的核心矛盾就挺复杂了。
连谭乔自己也表示:“这有可能是我国新著作权法实施以后,第一例、极具代表性、里程碑式的案子。”
首先是节目本身是公益性质的,谭乔当时去参与主持,估计也没有签啥合同。
电视台有需要,交警大队这边也可以帮忙出个人,于是就促成了节目的播出。
真要算起来,这节目就是电视台和交警那边共同制作的,那版权要如何分配咧?

也许当时大伙都没想过这个问题,因为那时候大家都是奔着公益的性质做的。
只是来到自媒体时代后,很多事儿都换了个算法,以前讲公益,现在聊版权,聊收益分配。
小雷觉得,整个事件想要得到妥善解决,还需要更多时间。
从法律来看,目前《谭谈交通》的版权确实在游术这里,人家起诉侵权了,节目被下架也无可厚非。
但从感情上来说,大多数网友都不愿意看到《谭谈交通》被全网下架,毕竟它在这个时代的意义,早就超出了普法范围。

雷科技





































